Многоканальные телефоны(495)NoSkype 978-50-70, 971-20-60

Электронная почта: info@diamondtool.ru
Адрес: г.Москва, 2 ой проезд Перова поля, д. 9, стр. 6
Время работы: Понедельник - Пятница с 9 до 18

Пневматические динамометрические гайковерты Losomat сери LPS с боковым редуктором

Динамометрические гайковерты LPS

Производитель: Losomat (Германия)

Специальные пневматические динамометрические гайковерты для монтажа систем теплообменников. 

Особенности

  • Запатентованная отключающая электроника, защищенная от брызг воды и влаги.
  • Оптимизированная конструкция позволяет экономить место позиционирования параллельно поперечной рулевой тяги.
  • Таблица на корпусе с доступными моментами затяжки.
  • Вращающийся на 360° блок привода с остановом обеспечивает простое позиционирование на шпильке.
  • Цифровой дисплей со встроенным счетчиком и функцией обратного отсчета.
  • Различные размеры ключей с переходниками для универсального применения.
  • Запатентованная тандемная шкивная передача для безопасной передачи больших моментов до 4800 Нм.(Модели с индексом LES 16/...).

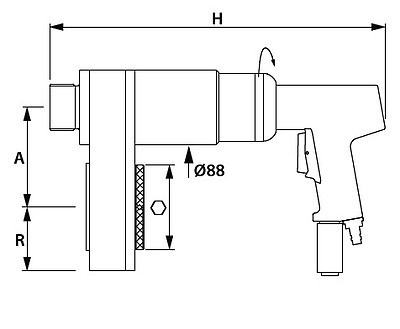
Технические характеристики

Модель Момент затяжки, Нм Момент затяжки, lbf·ft Скорость вращения, об/мин Шестигранник, мм A/R, мм H, мм Вес, кг Цена, руб
LPS - 1/60 3000 2200 7 60 112/61 396 10.0 по запросу
LPS - 1/80 36002650 5 80 118/75 396 12.0 по запросу
LPS - 1/95 4800 3500 4 95 135/95 396 13.0по запросу

Отправить запрос

Чтобы купить интересующую вас продукцию или задать вопрос,
вы можете связаться с нами по телефону или отправить запрос заполнив форму:

*
*
*

* - поля обязательные для заполнения

Каталог оборудования: